刮刀自清洗过滤器

高效过滤 · 自动清洗 · 智能控制 · 广泛适用

立即咨询:13903732893

设备简介

高效智能过滤解决方案

刮刀自清洗过滤器是一种利用滤网直接拦截水中的杂质,以净化水质及保护系统其他设备正常工作的精密设备。水由进水口进入自清洗过滤器机体,由于智能化(PLC、PAC)设计,系统可自动识别杂质沉积程度,给排污阀信号自动排污。

设备设计结构简单,反清洗时间短,流量大,压力损失小(≤0.018MPa),自清洗控制方式分为压差、时间及手动。设备可与DCS系统连接,实现高精度过滤,出水水质稳定,排污耗水量小于1%。

滤网终身使用无需更换,使用寿命长,可适用于不同原水水质和用水要求,易损件少,无耗材,运行费用低,操作管理简单,自动反清洗不断流。

过滤介质:

水体悬浮物、颗粒物,水质污垢、菌藻、锈蚀等

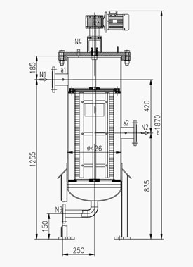
刮刀自清洗过滤器外观

工作原理

刮刀自清洗过滤器工作原理

智能刮刀过滤与清洗系统

待处理的水由入水口进入机体,水中的杂质沉积在不锈钢楔形网上,由此产生压差。通过压差开关监测进出水口压差变化,当压差达到设定值时,电控器给控制阀、驱动电机信号,引发下列动作:

电动机带动刮刀旋转,对滤芯进行强力清洗,同时控制阀打开进行排污,整个清洗过程只需持续数十秒钟。当清洗结束时,关闭控制阀,电机停止转动,系统恢复至其初始状态,开始进入下一个过滤工序。

刮刀系统采用不锈钢转轴搭配四氟刮板,刮刀和滤元紧密贴合,刮出效果好,滤网通透率高,耐磨耐高温,确保长期稳定运行。

技术参数

刮刀自清洗过滤器技术参数示意图

核心性能指标

使用压力

0.2~2.5MPa

使用温度

≤80°C

使用电压

380V 50HZ

过滤精度

50~5000微米可选

反洗耗水量

≤2%

清洗时间

60s可调

罐体材质

Q235B、304、316L、碳钢衬胶

清洗刷材质

304、316L

定制服务:可根据不同工况情况定制设备参数和配置

产品型号参数表

罐体规格 进出口规格 最大流量(t/h) 精度等级 电机功率/减速机型号
Φ273*1000 DN25-DN50 50 ≥50μm 0.18KW/RV040
Φ325*1200 DN80-DN125 100 ≥100μm 0.37KW/RV063
Φ426*1300 DN150 200 ≥200μm
Φ480*1550 DN200 300 ≥300μm
Φ530*1650 DN250 450 ≥300μm 0.75kw/RV075
Φ600*1750 DN300 550 ≥300μm
Φ700*2000 DN350 700 ≥500μm
Φ800*2150 DN400 1000 ≥800μm
Φ900*2300 DN450 1200 ≥1000μm
Φ1000*2500 DN500 1500 ≥1500μm
Φ1100*2600 DN600 1800 ≥2000μm 1.5kw/RV090
Φ1200*2800 DN700 2300

产品特点

高效刮刀系统

采用不锈钢转轴搭配四氟刮板,刮刀和滤元紧密贴合,刮除效果卓越,滤网通透率高。

智能控制系统

自清洗控制方式分为压差、时间及手动,设备可与DCS系统连接,实现智能化控制。

高效节能

反洗耗水量小于1%,压力损失小(≤0.018MPa),自动反清洗不断流,确保连续生产。

经济耐用

滤网终身使用无需更换,易损件少,无耗材,运行费用低,操作管理简单。

设备优势

内刮刀系统

• 采用不锈钢转轴搭配四氟刮板

• 刮刀和滤元紧密贴合,刮出效果好

• 滤网通透率高,耐磨耐高温

PLC控制系统

• 自动识别内杂质沉积程度

• 多种控制方式:压差控制、时间设定控制、手动控制

• 一键切换,自动运行,可根据工况定制

高性能精密滤元

• 采用304/316L不锈钢楔形金属网

• 支持20-500μm定制,不易堵塞,易清洗

• 压损小,维护成本低,适用于高粘度液体

设备关键部件

• 选用进口双极减速机、电器元件

• 采用PLC西门子控制系统

• 选配电动球阀,确保高效稳定运行

应用范围

水处理行业

石化工业

冶金工业

电力行业

精细化工

涂料油墨

造纸工业

食品饮料

制药行业

金属加工